LOG IN
REGISTER
Forums
Getting Started
Site Announcements
New Members Check In!
MBWorld Featured Car of the Month Contest
Mercedes-Benz Hybrid / Electric Vehicles
CLA (EQ)
EQA
EQB (X243) SUV
EQC electric SUV
EQE (V295) Sedan
EQS
Mercedes-Benz AMG Vehicles
AMG Vendor Classifieds
A45, A35 AMG (W176, W177)
CLA 35, CLA 45 AMG (C117, C118)
C63, C43 AMG (W206)
C63s, C63 and C43 AMG (W205)
C63 AMG (W204)
C32 AMG, C55 AMG (W203)
C36 AMG, C43 AMG (W202)
CLK55 AMG, CLK63 AMG (W208, W209)
E55, E63, E53, E43 AMGs (W210, W211, W212, W213)
CLS63, CLS55, CLS53 AMG (C219, C218, C257)
S63 AMG, S63 AMG 4Matic, S65 AMG (W222, V222)
S63 AMG 4MATIC Coupe, S65 AMG Coupe (C217), Convert. (A217)
S55 AMG, S65 AMG , S63 AMG (W220, W221)
CL55 AMG, CL65 AMG, CL63 AMG (C215, C216)
SL55 AMG, SL63 AMG, SL65 AMG (R230)
SLS AMG Gullwing (C197, R197)
AMG GT: GT, GTS, GTC, GTR, GT-4door (C190 / R190)
AMG GT: GT, GTS, GTC, GTR, GT-4 door (C192 / R192)
SLK55 (R172)
SLK55 (R171)
SLK32 AMG (R170)
GLA45, GLA35 AMG (X156, H247)
GLC63s, GLC63, GLC43 AMG SUV and Coupe (X253, C253)
GLE63s, GLE63, GLE53 AMG SUV & Coupe (W166, W167)
GL63 AMG and GLS63 (X166, X167)
ML63 AMG (W166)
ML55 AMG, ML63 AMG (W163, W164)
G55 AMG (W463)
G63 AMG (W464)
R63 AMG (W251)
Mercedes-Benz Sedans
MB Sedan Vendor Classifieds
S-Class (W223)
S-Class (W222)
S-Class (W221)
S-Class (W220)
S-Class (W140)
S-Class (W126)
S-Class (W116)
E-Class (W214)
E-Class (W213)
E-Class (W212)
E-Class (W211)
E-Class (W210)
E-Class (W124)
E-Class (W123)
E-Class (W114/W115)
C-Class (W206)
C Class (W205)
C-Class (W204)
C-Class (W203)
C-Class (W202)
190E (W201)
B-Class (W245, W246)
A-class (W168, W169,W176,W177)
Mercedes-Benz Coupes & Cabriolets
MB Coupes & Cabriolets Vendor Classifieds
S/CL-Class (W140) Coupe
CL-Class (W215)
CL-Class (W216)
S-Class (C217) Coupe & (A217) Cabrio
CLS Coupe (C218)
CLS Coupe (C219)
CLS Coupe (C257)
C-Class Coupe (C204)
C-Class Coupe (C205)
CLK-Class (W209)
CLK-Class (W208)
E-Class Coupe (C207) & Cabrio (A207)
E-Class Coupe (C238) & Cabrio (A238)
CLA Coupe (C117)
CLA Coupe (C118)
CLE Class Coupe (C236) & Cabrio (A236)
Mercedes-Benz SLR & SL Roadsters
MB SLR & SL Roadsters Vendor Classifieds
SLR McLaren (C199)
SL-Class (R232)
SL-Class (R231)
SL-Class (R230)
SL-Class (R129)
SL/SLC-Class (R107)
SLK-Class (R172)
SLK-Class (R171)
SLK-Class (R170)
Mercedes-Benz SUVs, Trucks, Vans, Diesels, Other
MB SUVs, Trucks, Vans, Diesels Vendor Classfieds
G Class Electric (G580)
G Class (W465/W463A)
G Class (W460, W461, W463)
GL Class (X166)
GL Class (X164)
GLC Class (X254)
GLC Class (X253)
GLK-Class (X204)
M-Class (W166)
M-Class (W164)
M-Class (W163)
GLA Class (H247)
GLA Class (X156)
GLB Class (X247)
GLE Class (V167)
GLE Class (W166)
GLS Class (X167)
GLS Class (X166)
R-Class (W251)
Smart Car
Maybach (W240)
V-Class
Diesel Forum
X-Class
Classic, Vintage Mercedes-Benz Vehicles, Other Cars
Classic, Vintage MB Vehicles Vendor Classifieds
Vintage Mercedes-Benz Owner Registry
General Discussion of Mercedes-Benz Classics
Classic Mercedes DIY tips and hints
Other Cars
Technical & Vehicle Assistance Forums
Technical Assistance Vendor Classifieds
Mercedes Tech Talk
Wheels, Tires, Suspension & Brakes Forum
Audio & Electronics
Performance Upgrades & Tuning
Detailing & Automotive Care
Automotive Leasing & Financing
Extended Warranty Discussions
European Delivery of Your New Car
Vendor Market Place
Vendor Announcements
Vendor Specials
Vendor Group Buys
Vendor Classifieds
General Forums
General Mercedes Discussion
Safety & Testimonials
Marketplace
Collectibles, Models and Literature
Newsletter Archive
Mercedes-Benz Motorsports & Racing
Events & Gatherings
Kill Stories
Lifestyle
Regional areas
US
Asia-Oceania
Canada
Europe
Middle East
Site & Forum Support
Suggestions & Feedback
Questions about how MBWorld.org works...not for car questions.
Test
News
Marketplace
Mercedes AMG Cars For Sale
Mercedes Wheels and Tires For Sale
Mercedes AMG Wheels and Tires For Sale
Vendor Directory
Become a Vendor
Site Store
Marketplace
New Posts
Tools
Car Payment Calculator
Tire Rim Calculator
Vin Decoder
Recalls
Technical Service Bulletins (TSBs)
Members List
Live Feed
How-Tos
Gallery
About
View Dark Mode
Please register or login to enable Dark Mode.
Log In
Register
Threads
Google
Threads
Posts
Advanced
Dark Mode
Please register or login to enable Dark Mode.
Log In
Forgot your Password?
By logging into your account, you agree to our
Terms of Use
and
Privacy Policy
, and to the use of cookies as described therein.
or
Login with Google
Login with Facebook
Recent
Commented
Albums
My Pictures
Share Your Pictures with Our Community.
Upload Now
Front Batt Sensor connects to... REAR-SAM ðŸ˜
0
2021/04/22 17:59:22
CaliBenzDr
Optical reflector of main LED
0
2021/04/22 17:47:38
CaliBenzDr
0
2021/04/22 17:32:23
Das144
0
2021/04/22 17:32:21
Das144
0
2021/04/22 17:32:20
Das144
2004 S55 AMG
0
2021/04/22 17:28:55
Polar Bear
0
2021/04/22 17:28:29
tusabes
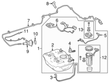
#12 is the repair kit, which is a new sensor, pre-heater and pump, all installed INSIDE the AdBlue tank (item #2)
0
2021/04/22 17:14:11
andreigbs
0
2021/04/22 17:02:41
John H
0
2021/04/22 17:02:36
John H
0
2021/04/22 17:02:32
John H
0
2021/04/22 17:02:28
John H
Advertisement
0
2021/04/22 17:02:23
John H
0
2021/04/22 17:02:19
John H
0
2021/04/22 17:02:14
John H
0
2021/04/22 17:02:11
John H
0
2021/04/22 17:00:49
John H
0
2021/04/22 17:00:40
John H
0
2021/04/22 17:00:31
John H
0
2021/04/22 17:00:21
John H
0
2021/04/22 17:00:13
John H
0
2021/04/22 17:00:06
John H
0
2021/04/22 16:59:59
John H
0
2021/04/22 16:59:51
John H
0
2021/04/22 16:59:44
John H
0
2021/04/22 16:48:01
dvon_6
0
2021/04/22 16:47:43
dvon_6
0
2021/04/22 16:47:21
dvon_6
0
2021/04/22 16:46:57
dvon_6
0
2021/04/22 16:44:29
dvon_6
0
2021/04/22 16:42:08
dvon_6
0
2021/04/22 16:07:23
AMG for me
Advertisement
First
Page
7702 of 21943
Last
Go To
Page
1
...
7700
7701
7702
7703
7704
...
21943
7702 of 21943
Go To
GO
Go to page
of 21943
pages
1
...
7700
7701
7702
7703
7704
...
21943